未来索引
开启左侧

苹果新专利获批:利用耳机监控个人身体状况

[复制链接]
邢远 发表于 2014-2-19 08:40:56 | 显示全部楼层 |阅读模式 打印 上一主题 下一主题

1392769870607.jpg 苹果新专利可监测健康数据 1392769870529.jpg

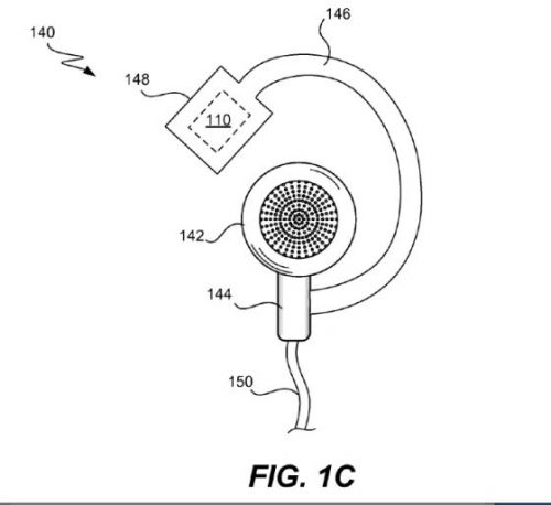
新浪科技讯 北京时间2月19日凌晨消息,据美国科技博客Apple Insider报道,苹果的一项专利已在今天获批,这项专利中所描述的监控系统可能会被用于耳机或其他设备,以记录体温、心率和出汗量等数据。

苹果公司在这项专利的申请文件中展示了一种可穿戴设备系统,旨在监控体育锻炼等活动中的用户活动。由于耳机跟人体皮肤和耳腔均有接触,因此这种监控系统还可感知人体特性,并将其收集为计量生物学数据。

该监控系统具有可拆卸性,不一定必须安装在耳机上,也可用于其他设备。苹果公司在专利申请文件中称:“这个监控系统可容身于一个外壳中提供,后者可附着在头戴式耳机或耳麦等设备所使用的连接线上。在另一种情况下,该健康系统还可附着在用户的衣服上。在这些不同的情况下,头戴式耳机或耳麦等设备既可以是有连接线的,也可以是无线的。”

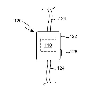
专利文件称,这个监控系统还可被用来控制智能手机等电子设备,用户可使用一种或多种头部动作来进行操作。该监控系统将配备加速计、陀螺仪或其他传感器,能被用来探测 用户头部的各种动作。通过这些传感器,用户可输入指令来控制与其相连接的电子设备。文件称,通过将头部倾斜向右、向左、向后或向前,甚至是向右或向左转动头部等动作,即可“开发出一整套头部动作语言”。

例如,用户将可通过头部动作来滚动、浏览或选中某种功能。文件指出:“举例来说,用户可向右转动或倾斜头部,从而向右翻页;随后,将头部保持在倾斜位置可令(翻页等)行动的速度加快,直到头部恢复正常位置为止。按应用的不同,头部动作可拥有多种含义。例如,同样的头部动作在不同的应用中可代表不同的行动。”

用户可通过输入二进制或模拟指令的方式来控制头部动作,其中二进制指令仅可将移动设备从一种状态切换至另一种状态,而模拟指令则可改变一种设备功能。“例如,摆动头部可被用来模拟摩尔斯电码,以便提供文本输入指令。另外,还可提供‘噪音’过滤功能,以降低常规头部动作被错误探测为控制指令的可能性。”


该会员没有填写今日想说内容.
高级模式
您需要登录后才可以回帖 登录 | 立即注册

本版积分规则

关注2973

粉丝3242

帖子9944

发布主题
阅读排行 更多
广告位
!jz_fbzt! !jz_sgzt! !jz_xgzt! 快速回复 !jz_sctz! !jz_fhlb! 搜索

智能技术共享平台 - 未来论

关注服务号

进入小程序

全国服务中心:

运维中心:天津

未来之家:天津 青岛 济南 郑州 石家庄

                商务邮箱:xy@mywll.com

Copyright © 2012-2021 未来派 未来论 (津ICP备16000236号-5)